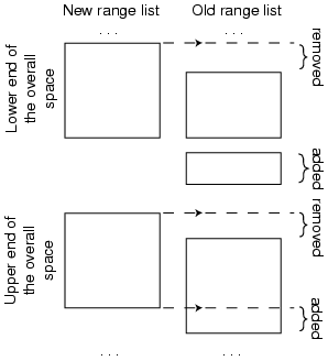
Figure 1: Information supplied by the range-list comparison algorithm.

Back to Article