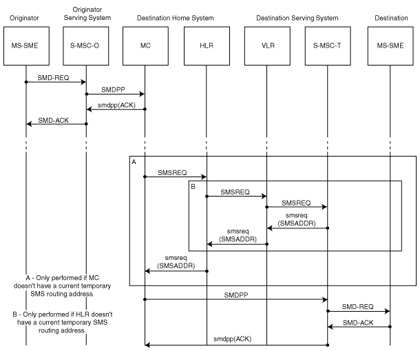
Figure 4: SMS message delivery between two mobile short message entities.

Back to Article