Real-Time Extensions to UML

By Michael J. McLaughlin and Alan Moore

Dr. Dobb's Journal December 1998

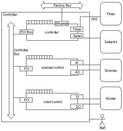
Figure 9: Preliminary System Architecture view of a sample system.

Back to Article


Copyright © 1998, Dr. Dobb's Journal