Convolutional Error-Control Codes

By Hugo Lyppens

Dr. Dobb's Journal November 1997

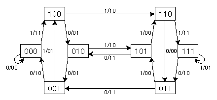
Figure 3: State diagram of a catastrophic code.

Back to Article


Copyright © 1997, Dr. Dobb's Journal